

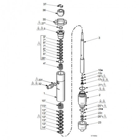
Ce kit joint complet est compatible avec les pompes Merkur Graco avec un bas de Pompe LW075A. Il est composé de Joints de presse-étoupe en V (7* et 8*), joints en V de piston (12*, 13*) et joints toriques (18*, 21*, 25*, 26* 27*, 28* et 33*)
Voir la description complète